L3560 3rd function concerns

TheOldHokie

Well-known member
Lifetime Member

Equipment
L3901/LA525, G2160/RCK60, G2460/RCK60
Apr 6, 2021
11,522
6,547
113
Myersville, MD
windyridgefarm.us
Can you supply pictures of the hose routing from behind the rockshaft/threepoint, and down by the right subframe/loader bracket. I have this same series of tractor. If this is the oem kubota kit, not the landpride kit, then the problem usually lies with routing. The tech more than likely routed hoses wrong on the machine. The BH is the issue on the install, as most dealers dont know how to properly route both kits on the same machine (l40/l60).

Without pictures.... the pb of the third function powers the backhoe inlet. The backhoe outlet then completes the pb circuit back to the inlet of the three point. The tank port stays the same to the tank port above the three point valve block. Trust me you will blow out your backhoe seals or the third function seals if this is wrong. Sounds to me like they put the backhoe first in the PB supply from the loader valve, which is wrong.
The kubota third function kit has its own relief on the side of the milled block. The land pride kits usually dont.
If i understand you the 3rd function is installed after the loader valve and before the backhoe. That makes sense to me because it prevents the loader valve from over pressuring the tank port on the 3rd function valve when the loader is actuated.

The parts diagram for the kit number the OP referenced does not show a relief valve in the 3rd function subplate.

Dan
 

kubotafreak

Well-known member

Equipment
GRAND l6060, L3560, B6100, gr2100, tg 1860, g1800, g1900, g2160
Sep 20, 2018
1,049
398
83
Arkansas, US
Absolutely Dan,

If he truly has the "L2265, that should be the KUBOTA exclusive kit for that specific tractor. Whole goods number not Landpride generic part number.
If he has a landpride kit and is incorrect in what the dealer "sold him" then this is a totally different scenario with plumbing. The simpler kits may not be able to facilitate the pb feedback to/from backhoe.

I believe this is the pub number TD350-9819-1
but it will be in the la 805-la1055 loader assembly instructions. Any dealer should be able to help with the document. I can dig it up if no dealer can help him.
third.PNG


"Hose #50 is the pb from third function block. This hose is then hooked to the inlet of the backhoe on the subframe mounted quick connect. The return from backhoe is placed on the port #40 to complete the pb circuit for the 3 point.
 
Last edited:

TheOldHokie

Well-known member
Lifetime Member

Equipment
L3901/LA525, G2160/RCK60, G2460/RCK60
Apr 6, 2021
11,522
6,547
113
Myersville, MD
windyridgefarm.us
Absolutely Dan,

If he truly has the L2256, that should be the KUBOTA exclusive kit for that specific tractor. Whole goods number not Landpride generic part number.
If he has a landpride kit and is incorrect in what the dealer "sold him" then this is a totally different scenario with plumbing. The simpler kits may not be able to facilitate the pb feedback to/from backhoe.

I believe this is the pub number TD350-9819-1
but it will be in the la 805-la1055 loader assembly instructions. Any dealer should be able to help with the document. I can dig it up if no dealer can help him.
I also revisited the parts diagram
FWIW the picture of the Kubota valve looks like a direct acting solenoid type like used in the LP kits not a piloted valve.

Dan
 

kubotafreak

Well-known member

Equipment
GRAND l6060, L3560, B6100, gr2100, tg 1860, g1800, g1900, g2160
Sep 20, 2018
1,049
398
83
Arkansas, US
Dan your right about the solenoid type. I guess my memory is off slightly. The l2270 is the pressure relief version.

third.PNG


The cause for most of these issues is the valve center on that solenoid. It needs to be open or tandem center for the backhoe to work properly. I do not believe most of the land pride kits come this way. It will be scribed on the plate on the solenoid. Long story short, the Kubota valve assembly is capable of both third function, and backhoe to be installed without issue.
 

kubotafreak

Well-known member

Equipment
GRAND l6060, L3560, B6100, gr2100, tg 1860, g1800, g1900, g2160
Sep 20, 2018
1,049
398
83
Arkansas, US
970AB914-E338-450A-8074-7BD89224F653.jpeg


Ignore the gray tank hose. That would be on the l2270 kit. Orange is pb from loader/inlet to third function. Far left of the three is the green pb from third function.
 

TheOldHokie

Well-known member
Lifetime Member

Equipment
L3901/LA525, G2160/RCK60, G2460/RCK60
Apr 6, 2021
11,522
6,547
113
Myersville, MD
windyridgefarm.us
Dan your right about the solenoid type. I guess my memory is off slightly. The l2270 is the pressure relief version.

View attachment 67264

The cause for most of these issues is the valve center on that solenoid. It needs to be open or tandem center for the backhoe to work properly. I do not believe most of the land pride kits come this way. It will be scribed on the plate on the solenoid. Long story short, the Kubota valve assembly is capable of both third function, and backhoe to be installed without issue.
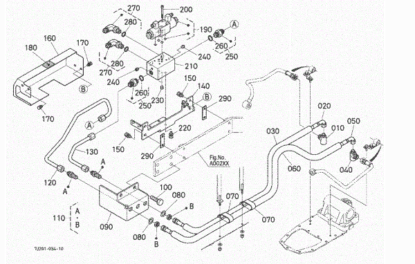
Thanks for your time and I believe these are the pertinent drawings for the L2265 kit.

As you can see from the C05500 component parts breakdown the 3rd function valve in this kit is not pilot actuated. It is the direct acting solenoid type with spring return to center so all the discussion of pilot pressures was a trip down a rabbit hole.

Still not clear what was done to fix this issue and probably never will be.

Dan
 

Attachments

rangerz520c

New member

Equipment
L3560 HST-LE
Mar 18, 2023
8
0
1
johnson city tn.
I am waiting for the 3rd function kit to arrive the dealer says it will be may before I get it so I guess I have to wait until may to get my tractor L3560
 

fishpick

Active member

Equipment
BX24 & L4760HSTC
Dec 16, 2017
119
199
43
The High Taxes part of lovely NY, USA
For everyone here waiting who may need to install the kit themselves… it’s easy.

 

mag wheel

New member

Equipment
L3560
Oct 29, 2023
6
0
1
Salisbury NC
For everyone here waiting who may need to install the kit themselves… it’s easy.

I'm in the middle of installing my l2265 on my l3560. I found the kit but I think I'm missing something.
You post has been very helpful, I think I'm missing one of the hard lines for the solenoid.
I'm seeing two? I only have one!
Any help is greatly appreciated
 

kubotafreak

Well-known member

Equipment
GRAND l6060, L3560, B6100, gr2100, tg 1860, g1800, g1900, g2160
Sep 20, 2018
1,049
398
83
Arkansas, US
I'm in the middle of installing my l2265 on my l3560. I found the kit but I think I'm missing something.
You post has been very helpful, I think I'm missing one of the hard lines for the solenoid.
I'm seeing two? I only have one!
Any help is greatly appreciated
Which one, i may have it